钢结构高强螺栓连接标准详图
温馨提示:这篇文章已超过455天没有更新,请注意相关的内容是否还可用!
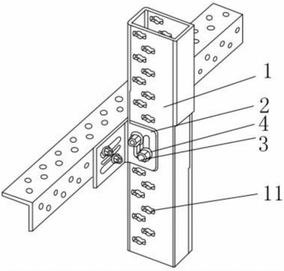
钢结构高强螺栓连接标准详图是一套详细的设计图纸,用于指导如何将高强度螺栓应用在钢结构中。这些图纸通常包括螺栓的尺寸、规格、安装方式和连接要求等详细信息,以确保螺栓的正确安装和使用,从而确保结构的稳固性和安全性。,,钢结构高强螺栓连接标准详图的主要内容包括:螺栓的选择与应用、连接节点的设计、螺栓孔的加工与布置、螺栓的安装方法、以及连接件的检验与验收。这些图纸为工程师和施工人员提供了明确的指导,使他们能够正确地选择和使用高强度螺栓,确保钢结构的稳定性和安全性。
钢结构高强螺栓连接标准详图
钢结构高强螺栓连接是钢结构工程中重要的连接方式之一,它涉及到多个方面的标准和规范。以下是根据提供的搜索结果整理的关于钢结构高强螺栓连接的标准详图的相关信息。
施工准备
在进行钢结构高强螺栓连接之前,需要做好充分的施工准备工作。这包括材料及主要机具的准备,如螺栓、螺母、垫圈等应符合设计要求和国家标准的规定,并按规格分类存放。此外,还需要对摩擦面进行处理,确保摩擦系数符合设计要求,并且摩擦面不允许有残留氧化铁皮或污染。
螺栓长度的选择
扭剪型高强螺栓的长度应根据连接板厚度加上一个螺母和一个垫圈的厚度来确定,并且紧固后要露出不少于两扣螺纹的余长。一般情况下,螺栓长度按连接板厚加表5-2中的增加长度,并取5mm的整倍数。
接头组装
在接头组装时,连接处的钢板或型钢应平整,板边、孔边无毛刺。如果有翘曲、变形,必须进行校正,并保证摩擦面紧贴。装配前应检查摩擦面,确保试件的摩擦系数达到设计要求。
安装临时螺栓
在正式安装高强螺栓之前,需要先安装临时螺栓以固定连接处。临时螺栓的数量应为接头螺栓总数的1/3以上,并且每个接头不少于两个。冲钉穿入数量不宜多于临时螺栓的30%。需要注意的是,不准用高强螺栓兼作临时螺栓,以防螺纹损伤。
安装高强螺栓
安装高强螺栓时,螺栓应自由穿入孔内,不得强行敲打。扭剪型高强螺栓的垫圈安在螺母一侧,垫圈孔有倒角的一侧应和螺母接触,不得装反。如果螺栓不能自由穿入,不得用气割扩孔,而要用绞刀绞孔,修孔时需使板层紧贴,以防铁屑进入板缝。
高强螺栓的紧固
高强螺栓的紧固必须分两次进行,第一次为初拧,紧固到螺栓标准轴力(即设计预拉力)的60%~80%,初拧的扭矩值不得小于终拧扭矩值的30%。第二次紧固为终拧,终拧时扭剪型高强螺栓应将梅花卡头拧掉。为使螺栓群中所有螺栓均匀受力,初拧、终拧都应按一定顺序进行。
检查验收
扭剪型高强螺栓应全部拧掉尾部梅花卡头为终拧结束,不准遗漏。个别不能用专用扳手操作时,扭剪型高强螺栓应按大六角头高强螺栓用扭矩法施工。终拧结束后,检查漏拧、欠拧宜用0.3~0.5kg重的小锤逐个敲检,如发现有欠拧、漏拧应补拧;超拧应更换。检查时应将螺母回退30S0再拧至原位,测定终拧扭矩值,其偏差不得大于±10%,已终拧合格的做出标记。
质量标准
高强螺栓的型式、规格和技术条件必须符合设计要求及有关标准的规定,检查质量证明书及出厂检验报告。复验螺栓预拉力符合规定后方准使用。表面严禁有氧化铁皮、毛刺、飞溅物、焊疤、涂料和污垢等,检查摩擦系数试件试验报告及现场试件复验报告。初拧扭矩扳手应定期标定。
注意事项
在安装过程中,不得使用螺纹损伤及沾染赃物的高强度螺栓连接副,不得使用高强度螺栓作为临时螺栓。安装高强度螺栓时严禁强行穿入。当不能自由穿入时,该孔应由铰刀进行修整,修整后孔的最大直径不得大于1.2倍螺栓直径,且修孔数量不得超过该节点螺栓数量的25%,修孔前应将四周螺栓全部拧紧,使板迭密贴后在进行绞铰孔,严禁气割扩孔。
以上就是钢结构高强螺栓连接的一些标准和规范,这些内容可以帮助工程师和施工人员更好地理解和执行钢结构高强螺栓连接的工作。
高强螺栓连接施工流程钢结构螺栓连接验收标准高强螺栓紧固扭矩计算方法钢结构螺栓连接常见问题
钢结构高强螺栓连接标准详图




还没有评论,来说两句吧...